Normandie, Eure (27)
Gournay-le-Guérin, Église Saint-Lambert
Édifice


Située dans un petit hameau à l’écart, non loin de la frontière de l’ancien duché de Normandie, la chapelle Saint-Gilles de Petiteville, placée sous le patronage du seigneur de Belleau dont le premier château brûla en 1080, est l’ancienne église d’origine romane de la paroisse de Petite-Ville supprimée en 1793. Pendant la Révolution, elle fut transformée en temple et en salle de réunion par les conseillers municipaux, et gravement endommagée. Elle fut mise en vente lors de la fusion avec Gournay-le-Guérin en 1809 et rachetée pour 300 Frs par Louis Gouhier, vicomte de Petiteville, pour devenir la chapelle du château voisin, propriété de la famille. Elle fut restaurée en 1891-1892 à l’initiative de Robert Gouhier de Petiteville, consul général de Beyrouth, par l’architecte orientaliste français, Christophe Mauss (1829-1914) qui travailla sur plusieurs églises de Jérusalem. Transmise par succession, elle est restée propriété privée.
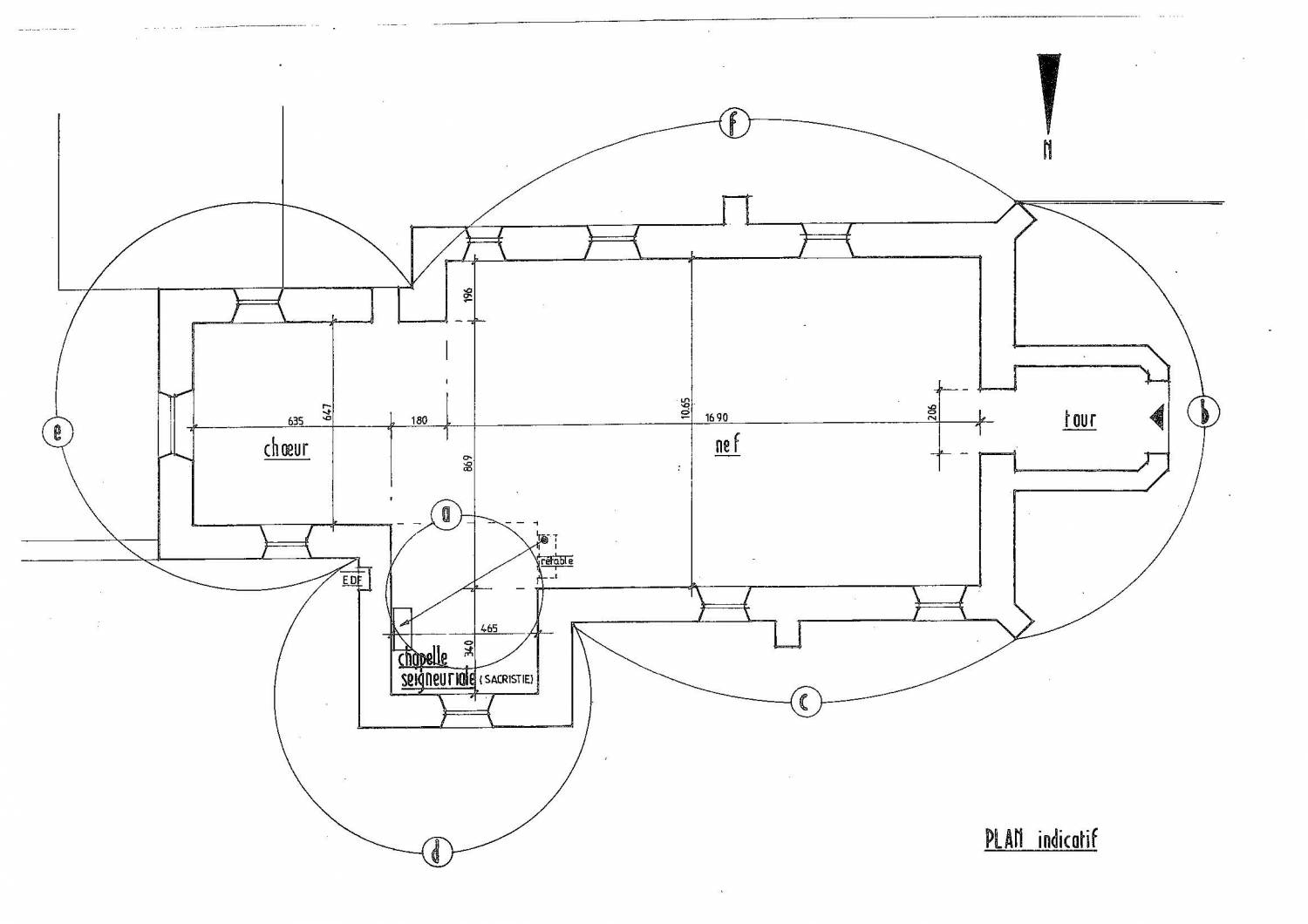
Entourée en partie de son ancien cimetière, dont subsistent des vestiges de l’escalier d’accès et du mur d’enceinte, l’église, construite en moellons de silex et couverte en tuiles, mesure environ vingt mètres de longueur. Elle possède une nef rectangulaire et un chœur en retrait qui remontent au xii s., mais elle a été largement remaniée, vraisemblablement par Gilles de Belleau, au XVIe s., avec l’adjonction de deux bas-côtés à hauts pignons épaulés de contreforts et percés au nord de deux fenêtres flamboyantes et au sud de fenêtres Renaissance en plein cintre. La façade occidentale, grand mur pignon où s’ouvre un étroit portail en plein cintre, est percée de deux petites fenêtres. Au-dessus s’élève un clocher en ardoises de plan carré à flèche octogonale surmontée d’une croix de faîtage.
A l’intérieur, la nef de deux travées est couverte d’une voûte en berceau brisé lambrissée à entraits apparents. Elle communique avec les bas-côtés par des arcades cintrées largement ouvertes qui reposent sur un pilier octogonal au nord et sur une pile carrée ornée de huit pilastres doriques au sud. La travée orientale du bas-côté nord a reçu lors de sa construction une voûte à quatre compartiments ornés des armes (dégradées) de Gilles de Belleau, de sa femme Marguerite du Hamel, de sa nièce Jeanne de La Vove et de son aïeule Jeanne de Rupière. Sur le plafond en bois du bas-côté sud figure l’inscription ANNO 1891. Le chœur à deux travées, ajouré d’une baie gothique au chevet, s’ouvre sur la nef par un arc triomphal légèrement brisé.
Le mobilier a été en partie vendu à la Révolution, mais il subsiste les retables de style Renaissance des bas-côtés, une dalle tumulaire à l’effigie de la veuve d’un seigneur de Petiteville et un bénitier formé d’un chapiteau roman figurant des têtes d’hommes et des serpents entrelacés. Une Vierge à l’Enfant en pierre, des statuettes en pierre de saint Côme et de saint Damien et un saint Gilles en bois, tous du XVIe s., ont été donnés par l’abbé Dubois, curé de Notre-Dame de Verneuil à la fin du XIXe siècle. Les vitraux du XIXe s. représentent la vie de saint Gilles.
La Sauvegarde de l’Art français a attribué en 2014 une aide de 15 000 € pour la restauration de la couverture du clocher et de sa charpente.
Serge Aubé
Bibliographie :
M. Baudot, « Les églises du canton de Verneuil », Nouvelles de l’Eure, 12, 2e trimestre 1962.
Le projet en images
Actualités liées

Communication
Un édifice exemplaire
A Mesnil-en-Ouche, dans l’Eure, l’église de Pierre Ronde, isolée depuis la disparition du hameau médiéval au sein duquel elle fut bâtie, délaissée par […]

Immobilier
Le comité de janvier 2018 apporte un nouveau souffle à 23 églises
L’année 2018 commence sous les meilleurs auspices pour les 23 églises sélectionnées par le comité de la Sauvegarde, le 30 janvier. Auvergne-Rhône-Alpes Voreppe […]

Immobilier
Comité de juillet 2019
Église Saint-Pierre de Coulans-sur-Lison à Éternoz (Doubs) Le cinquième comité de l’année 2019, s’est réuni le 2 juillet dernier. A cette occasion, La […]





