Pays de la Loire, Maine-et-Loire (49)
Beauvau, Église Saint-Martin
Édifice


Département : Maine-et-Loire
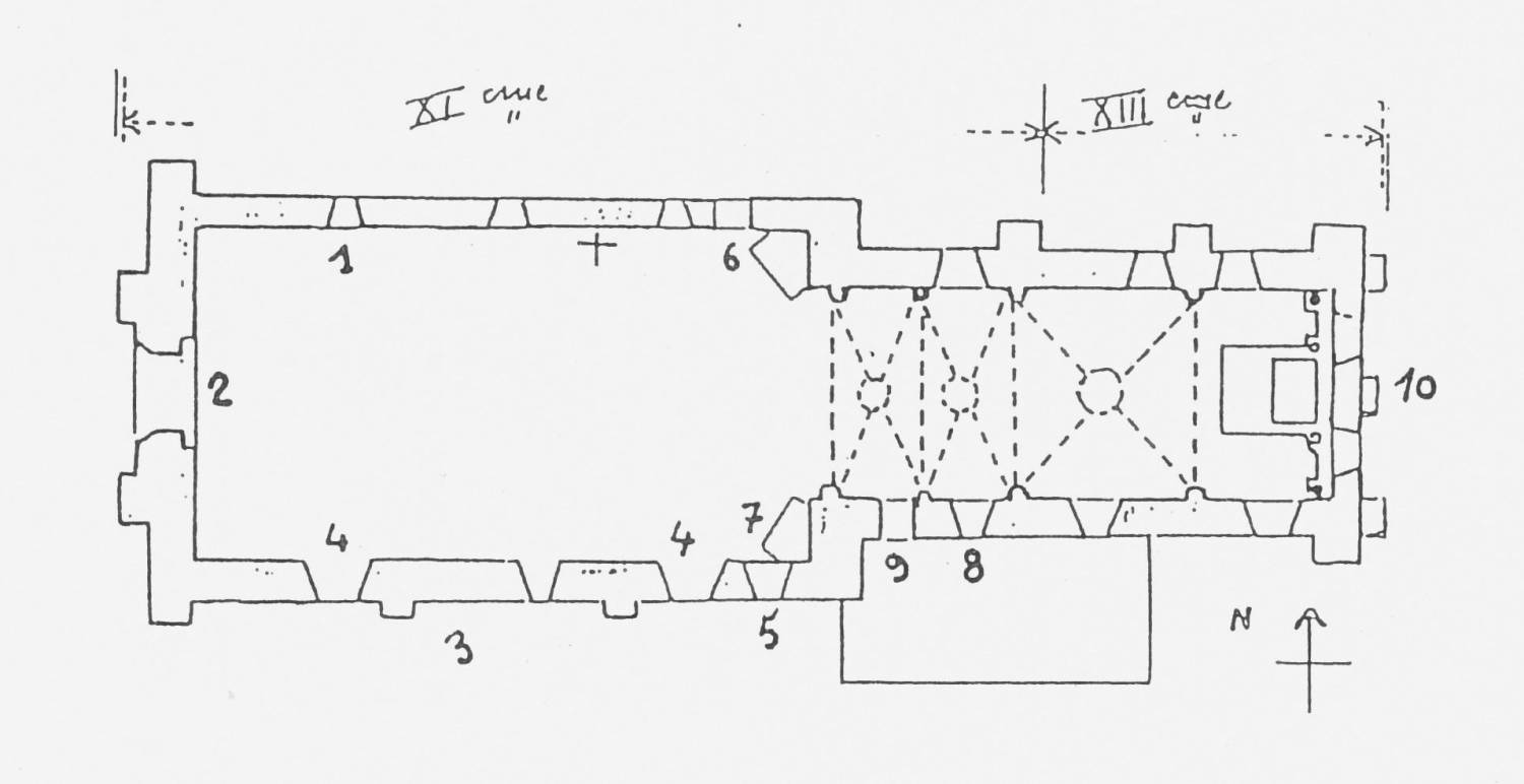
Eglise composée d’une nef unique de trois travées, d’un chœur plus étroit long de 3 travées et terminé par un chevet plat. La couverture est en ardoise et les murs sont fait de moellons enduits. Une voûte lambrissée couvre la nef tandis qu’une voûte en briques enduites de style Plantagenêt est installée sur le chœur.
L’église est fondée au IXème ou Xème siècle, puis reconstruite au XIIème siècle. Elle fut alors cédée par le seigneur de Jarzé à l’abbaye de Saint-Serge qui y fonda un prieuré. Le chœur est rebâti par Geoffroy de Jarzé à la fin du XIIIème ou au début du XIVème siècle siècle. Le clocher est abattu au XIXème siècle.




