Grand Est, Meurthe-et-Moselle (54)
Germiny, Église Saint-Epvre
Édifice


Depuis le IXe s., l’abbé de Saint-Epvre de Toul était le principal décimateur de Germiny qui, dotée d’un vicaire résident, était une annexe de la cure de Crépey. L’église est réputée être l’ancienne chapelle castrale du château voisin, possession du XVe au XVIIe s. de la famille de Haraucourt. Selon la chronique locale, c’est en 1595 qu’Évrard de Haraucourt aurait « donné pour mémoire de lui le chœur de l’église dudit lieu et la place du cimetière ». La même source précise que, le 24 mai de la même année, étaient fondues les trois cloches du clocher, dont les parrain et marraine furent Évrard et son épouse Suzanne de Custines.
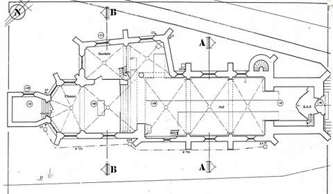
Située dans la partie haute du village, à proximité immédiate des restes du Château Haut, l’église Saint-Epvre, que précède à l’ouest la tour rectangulaire hors-œuvre du clocher, se compose d’une nef de trois travées barlongues que prolonge un chœur barlong, terminé par une abside à trois pans. Au sud, deux chapelles voûtées sur croisées d’ogives ouvrent sur la troisième travée de la nef et sur la travée droite du chœur. Accolée à la première travée de la nef au sud, une tourelle d’escalier en vis de plan circulaire donnait initialement accès aux combles depuis l’intérieur. Accessible depuis l’abside, la sacristie la prolonge dans son axe. La partie ancienne de la charpente de la nef comporte quatre fermes en chêne. Celle du chœur, en chêne et en sapin, a été refaite au XIXe siècle. Les toits sont à longs pans, avec croupe polygonale pour l’abside, les chapelles couvertes en appentis.
Si les différentes composantes de l’édifice n’appartiennent pas à une seule campagne de travaux, l’ensemble paraît dater du XVe s. et du début du XVIe. La variété des élévations et des remplages des baies attestent des interventions nombreuses. Les parties hautes de la tour ont été reconstruites après destruction de son couronnement par un orage survenu le 11 mai 1851.
L’intérieur a été modernisé à la fin du XIXe s. ou au début du XXe : décaissement du sol, précédemment en pente accentuée, et pose d’un carrelage ; faux lambris peints, remplacés plus tard par de vrais lambris de demi hauteur ; mise en peinture des socles et bases de colonnes engagées ; pose de vitraux…
Les campagnes de travaux de 2002 ont permis une série d’observations, grâce en particulier à l’enlèvement des enduits intérieurs, permettant ainsi l’établissement d’une chronologie plus serrée.
Ces travaux ont conduit à la découverte de nombreux restes de polychromie dans une gamme d’ocres, soulignant l’architecture, voûtes décorées de fleurettes, baies dégagées, ainsi que des décors, voûtes à fausses coupes de pierre et fleurettes, fragments de litres funéraires, piscines, croix de consécration…
À noter la clé de voûte de la chapelle seigneuriale, la deuxième au sud, avec un écu parti aux armes de Germiny et de Haraucourt, et qui peut être attribué à Jean de Germiny, chevalier bailli de Nancy en 1493, disparu en 1494, et à son épouse Jacquette de Haraucourt ; celle-ci était la fille de Jacques de Haraucourt, bailli de Nancy, mort en 1476.
Les pierres tombales armoriées incorporées au dallage, encore nombreuses au XIXe s., ont disparu lors des travaux réalisés à la fin de la période.
Deux objets mobiliers classés sont également à signaler : un saint évêque portant un livre, statue en pierre du XVIe s., le tabernacle monumental du maître-autel, en bois, œuvre du sculpteur-doreur Jean Bailly de Damas-aux-Bois (Vosges), réalisé vers 1720. Les cloches actuelles, de 1869, proviennent des ateliers Perrin Martin de Robécourt (Vosges).
En 2002, la Sauvegarde de l’Art français a accordé 15 245 € à la commune pour la réfection de la charpente et de la couverture de l’église.
J.-M. P.
Le projet en images
Actualités liées

Mobilier
Restauration des bénitiers de Neuviller-lès-Badonviller : rencontre avec Philippe Daum
Paires de Bénitiers de Neuviller-lès-Badonviller, Collaboration entre la cristallerie Daum et l’artiste décorateur Louis Majorelle, v. 1922 C’est une rencontre avec un mécène […]

Comité de février 2019
Murat (15) Eglise Notre-Dame des Oliviers – Crédits : Gilles Chabrier Le deuxième comité de l’année 2019, s’est réuni le 12 février. La […]






